汽修门店的免费安全检查,受到越来越多门店的重视,但是,却没有几家门店真正做起来,为什么一个大家都觉得很好的服务,最终无法落地呢?
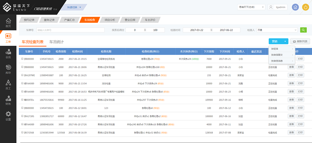
门店设定到期检查或者保养时间,系统自动计算未更换里程和公里数,明显数据对比,通过微信精准需求进行营销
车况统计、数据分析、经营数据—隆乘车况系统通过大数据对门店运营数据进行全面分析,了解用户,了解门店的经营状态,改善效益。
实时发送到车主手机,第一时间让客户知道他爱车的状况,用户主人翁感,有参与感,大大提升门店专业性,增加客户信任度!服务至上。
第一时间满足客户需求,销售快人一步,节约时 间!时间就是生命,时间就是效益,时间就优势。






